The AWS Ltd Wireless Telemetry Load Link is a strain gauged link with an inbuilt battery powered wireless transceiver communicating with our AWS Wireless Telemetry Load Measurement System. With a simple to change extra-long life battery, and a large range of load capacities, it is ideal for applications in systems where running cables to a load link is not possible.
Specifications subject to change without notice.

| Capacities | 2-250 tonnes |
|---|---|
| Radio Frequency | 2.4 GHz |
| Accuracy (above 10% of FSD) | ±0.05% of reading |
| Compensated Temperature Range | -10 to +40°C |
| Operating Temperature Range | -20 to +60°C |
| Temperature Coefficient on Zero | <0.005% FRO/°C |
| Temperature Coefficient on Span | <0.003% FRO/°C |
| Safe Overload | 150% |
| Ultimate Overload | 400% |
| Insulation | >500 MΩ @ 100Vdc |
| Environmental Protection | IP67 |
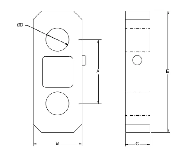
All dimensions in mm.
| Capacity (te) | A | B | C | D | E | Weight (kg) |
|---|---|---|---|---|---|---|
| 5 | 137 | 105 | 41.5 | 30 | 193 | 1.5 |
| 12 | 149 | 105 | 41.5 | 38 | 239 | 2.0 |
| 25 | 160 | 125 | 55 | 53 | 284 | 4.5 |
| 35 | 175 | 138 | 55 | 60 | 335 | 5.5 |
| 50 | 198 | 150 | 75 | 73 | 375 | 10.0 |
| 100 | 275 | 220 | 120 | 100 | 500 | 28.0 |
| 150 | 300 | 260 | 120 | 110 | 550 | 50.0 |
| 200 | 325 | 290 | 159 | 135 | 660 | 75.0 |
| 250 | 365 | 304 | 189 | 145 | 720 | 90.0 |
